BEM 모델

정격 전압 DC45/90/180V의 무여자 브레이크용 소형 전원장치로, AC100V, AC200V, AC400V 중 어느 전압 사양에서도 접속 및 입력만 하면 전자 클러치・브레이크의 동작에 필요한 직류 전압을 얻을 수 있습니다. 케이스 전체를 수지로 몰드하였으므로 분진 등의 열악한 환경 속에서도 사용이 가능하며 소형 및 경량입니다.

정격 전압 DC45/90/180V의 무여자 브레이크용 소형 전원장치로, AC100V, AC200V, AC400V 중 어느 전압 사양에서도 접속 및 입력만 하면 전자 클러치・브레이크의 동작에 필요한 직류 전압을 얻을 수 있습니다. 케이스 전체를 수지로 몰드하였으므로 분진 등의 열악한 환경 속에서도 사용이 가능하며 소형 및 경량입니다.
BEM 모델
【사양】
| 형식 | BEM-2H | BEM-4H | BEM-2F | ||||||
|---|---|---|---|---|---|---|---|---|---|
| 입력 전압 | AC100V | ±10% 50/60Hz | ● | ● | ● | ||||
| AC200V | ● | ● | ● | ||||||
| AC400V | ● | ||||||||
| 최대 입력 전압 | AC250V | AC510V | AC250V | ||||||
| 정류 방식 | 정류 방식 | 반류 방식 | 전류 방식 | ||||||
| 출력 전압 | DC45V | DC90V | DC45V | DC90V | DC180V | DC90V | DC180V | ||
| 출력 전압 | 주위 온도 20℃일 때( )안은 60℃일 때 | DC1.0A(DC0.6A) | DC1.0A(DC0.6A) | DC1.0A(DC0.6A) | |||||
| 출력 용량 | 주위 온도 20℃일 때( )안은 60℃일 때 | 45W(25W) | 90W(50W) | 45W(25W) | 90W(50W) | 180W(100W) | 90W(50W) | 180W(100W) | |
| 사이즈설정 | 전압 사양( )안은 입력 전압 | DC45V(AC100V) | DC90V(AC200V) | DC45V(AC100V) | DC90V(AC200V) | DC180V(AC400V) | DC90V(AC100V) | DC180V(AC200V) | |
| ●:적용△:클러치・브레이크 모델에 따라 적용 | 01 | ● | ● | ● | ● | ● | ● | ● | |
| 03 | |||||||||
| 04 | |||||||||
| 05 | |||||||||
| 06 | |||||||||
| 08 | |||||||||
| 10 | |||||||||
| 12 | |||||||||
| 14 | |||||||||
| 16 | |||||||||
| 18 | △ | △ | △ | ||||||
| 20 | △ | ||||||||
| 25 | |||||||||
| 적용 클러치・브레이크 | 당사 전자 클러치・브레이크 정격 전압 DC45/90/180V | 무여자 브레이크 | |||||||
| 절연 저항 | 터미널-본체 간 | 터미널-본체 간 | DC500V 메가에서 100MΩ | ||||||
| 터미널-본체 간 | AC1500V 50Hz 1분간 | AC2200V 50Hz 1분간 | AC1500V 50Hz 1분간 | ||||||
| 리드선 | UL 스타일 / 크기 | UL3398・AWG22 | UL3271・AWG22 | UL3398・AWG22 | |||||
| 사용 환경 | 결로 없을 것 | -15~+60℃ | |||||||
| 질량 | 제품 1개 당 | 0.020kg | 0.021kg | 0.023kg | |||||
※BEM-2F만 RoHS 대상 제외
【치수】

【구조】

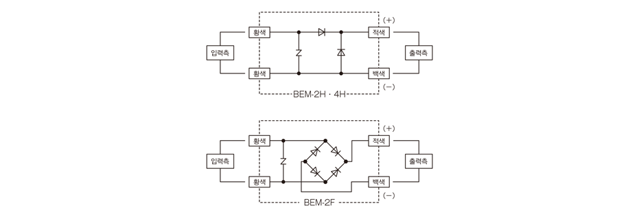
【단자와 기능】
| 리드선 색깔 | 기능 명칭 | 기능 설명 |
|---|---|---|
| 황색(2개) | 입력측 | 상용 전원을 접속합니다 |
| 적색・백색 | 출력측 | 전자 클러치・브레이크를 접속합니다 |
【특성】
반파 정류 및 전파 정류 겸용
【결선 방법과 타임차트】
1차측 제어

2차측 제어

